主页(http://www.pttcn.net):【LTE知识】LTE空中接口信道和映射关系
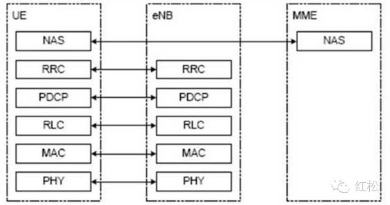
空中接口是指终端与接入网之间的接口,简称Uu口,通常也成为无线接口。在LTE中,空中接口是终端和eNodeB之间的接口。空中接口协议主要是用来建立、重配置和释放各种无线承载业务的。空中接口是一个完全开放的接口,只要遵守接口规范,不同制造商生产的设备就能够互相通信。 空中接口协议栈主要分为三层两面,三层是指物理层、数据链路层、网络层,两面是指控制平面和用户平面。从用户平面看,主要包括物理层、MAC层、RLC层、PDCP层,从控制平面看,除了以上几层外,还包括RRC层,NAS层。RRC协议实体位于UE和ENB网络实体内,主要负责对接入层的控制和管理。NAS控制协议位于UE和移动管理实体MME内,主要负责对非接入层的控制和管理。
1.空中接口用户面协议栈结构
2.空中接口控制面协议栈结构 LTE沿用了UMTS里面的三种信道,逻辑信道,传输信道与物理信道。从协议栈的角度来看,物理信道是物理层的,传输信道是物理层和MAC层之间的,逻辑信道是MAC层和RLC层之间的,它们的含义是: (1)逻辑信道,传输什么内容,比如广播信道(BCCH),也就是说用来传广播消息的; (2)传输信道,怎样传,比如说下行共享信道DL-SCH,也就是业务甚至一些控制消息都是通过共享空中资源来传输的,它会指定MCS,空间复用等等方式,也就说是告诉物理层如何去传这些信息; (3)物理信道,信号在空中传输的承载,比如PBCH,也就是在实际的物理位置上采用特定的调制编码方式来传输广播消息了。 1. 物理信道 物理层位于无线接口协议的最底层,提供物理介质中比特流传输所需要的所有功能。物理信道可分为上行物理信道和下行物理信道。 LTE定义的下行物理信道主要有如下6种类型: (1)物理下行共享信道(PDSCH):用于承载下行用户信息和高层信令。 (2)物理广播信道(PBCH):用于承载主系统信息块信息,传输用于初始接入的参数。 (3)物理多播信道(PMCH):用于承载多媒体/多播信息。 (4)物理控制格式指示信道(PCFICH):用于承载该子帧上控制区域大小的信息。 (5)物理下行控制信道(PDCCH):用于承载下行控制的信息,如上行调度指令、下行数据传输是指、公共控制信息等。 (6)物理HARO指示信道((PHICH):用于承载对于终端上行数据的ACK/NACK反馈信息,和HARO机制有关。 LTE定义的上行物理信道主要有如下3种类型: (1)物理上行共享信道(PUSCH):用于承载上行用户信息和高层信令。 (2)物理上行控制信道(PUCCH):用于承载上行控制信息。 (3)物理随机接入信道(PRACH):用于承载随机接入前道序列的发送,基站通过对序列的检测以及后续的信令交流,建立起上行同步。 2. 传输信道 物理层通过传输信道向MAC子层或更高层提供数据传输服务,传输信道特性由传输格式定义。传输信道描述了数据在无线接口上是如何进行传输的,以及所传输的数据特征。如数据如何被保护以防止传输错误,信道编码类型,CRC保护或者交织,数据包的大小等。所有的这些信息集就是我们所熟知的"传输格式"。 传输信道也有上行和下行之分。 LTE定义的下行传输信道主要有如下4种类型: (1)广播信道(BCH):用于广播系统信息和小区的特定信息。使用固定的预定义格式,能够在整个小区覆盖区域内广播。 (2)下行共享信道(DL-SCH):用于传输下行用户控制信息或业务数据。能够使用HARQ;能够通过各种调制模式,编码,发送功率来实现链路适应;能够在整个小区内发送;能够使用波束赋形;支持动态或半持续资源分配;支持终端非连续接收以达到节电目的;支持MBMS业务传输。 (3)寻呼信道(PCH):当网络不知道UE所处小区位置时,用于发送给UE的控制信息。能够支持终端非连续接收以达到节电目的;能在整个小区覆盖区域发送;映射到用于业务或其他动态控制信道使用的物理资源上。 (4)多播信道(MCH):用于MBMS用户控制信息的传输。能够在整个小区覆盖区域发送;对于单频点网络支持多小区的MBMS传输的合并;使用半持续资源分配。 LTE定义的上行传输信道主要有如下2种类型: (1)上行共享信道(UL-SCH):用于传输下行用户控制信息或业务数据。能够使用波束赋形;有通过调整发射功率、编码和潜在的调制模式适应链路条件变化的能力;能够使用HARQ;动态或半持续资源分配。 (2)随机接入信道(RACH):能够承载有限的控制信息,例如在早期连接建立的时候或者RRC状态改变的时候。 3. 逻辑信道 逻辑信道定义了传输的内容。MAC子层使用逻辑信道与高层进行通信。逻辑信道通常分为两类:即用来传输控制平面信息的控制信道和用来传输用户平面信息的业务信道。而根据传输信息的类型又可划分为多种逻辑信道类型,并根据不同的数据类型,提供不同的传输服务。 LTE定义的控制信道主要有如下5种类型: (1)广播控制信道(BCCH):该信道属于下行信道,用于传输广播系统控制信息。 (2)寻呼控制信道(PCCH):该信道属于下行信道,用于传输寻呼信息和改变通知消息的系统信息。当网络侧没有用户终端所在小区信息的时候,使用该信道寻呼终端。 (3)公共控制信道(CCCH):该信道包括上行和下行,当终端和网络间没有RRC连接时,终端级别控制信息的传输使用该信道。 (4)多播控制信道(MCCH):该信道为点到多点的下行信道,用于UE接收MBMS业务。 (5)专用控制信道(DCCH):该信道为点到点的双向信道,用于传输终端侧和网络侧存在RRC连接时的专用控制信息。 LTE定义的业务信道主要有如下2种类型: (1)专用业务信道(DTCH):该信道可以为单向的也可以是双向的,针对单个用户提供点到点的业务传输。 (2)多播业务信道(MTCH):该信道为点到多点的下行信道。用户只会使用该信道来接收MBMS业务。 4. 相互映射关系 MAC子层使用逻辑信道与RLC子层进行通信,使用传输信道与物理层进行通信。因此MAC子层负责逻辑信道和传输信道之间的映射。 (1)逻辑信道至传输信道的映射 LTE的映射关系较UTMS简单很多,上行的逻辑信道全部映射在上行共享传输信道上传输;下行逻辑信道的传输中,除PCCH和MBMS逻辑信道有专用的PCH和MCH传输信道外,其他逻辑信道全部映射到下行共享信道上(BCCH一部分在BCH上传输)。
3.上行逻辑信道到传输信道的映射关系
4. 下行逻辑信道到传输信道的映射关系 (2)传输信道至物理信道的映射 上行信道中,UL-SCH映射到PUSCH上,RACH映射到PRACH上。下行信道中,BCH和MCH分别映射到PBCH和PMCH,PCH和DL-SCH都映射到PDSCH上。 5. 上行传输信道到物理信道的映射关系
6. 下行传输信道到物理信道的映射关系 (中国集群通信网 | 责任编辑:陈晓亮) |




